НАВЕРХ
ОБРАТНО
0
Оборудование
для АЗС и нефтебаз
Москва
г. Москва, ул. Митинская 55 корпус 1
Пн-Пт 9.00-17.00
Ваша корзина:
товаров: 0
на сумму: 0 р.
Заказать звонок
Написать нам
Москва
Оборудование для АЗС и нефтебаз
ведущий поставщик и производитель
Написать нам
Заказать звонок
Ваша корзина:
товаров: 0
на сумму: 0 р.
Оформить заказ
Пн-Пт 9.00-17.00
8 (800) 555-66-05
звонок по РФ бесплатный
Пн-Пт 9.00-17.00
8 (800) 555-66-05
звонок по РФ бесплатный
Каталог оборудования
Акция
Моноблок Bennett ZYB-50
1900017500 руб!
Акция
Агрегат насосный ATRIS АНСВ-2-400 (380В, 2,2кВт)
10600097800 руб!

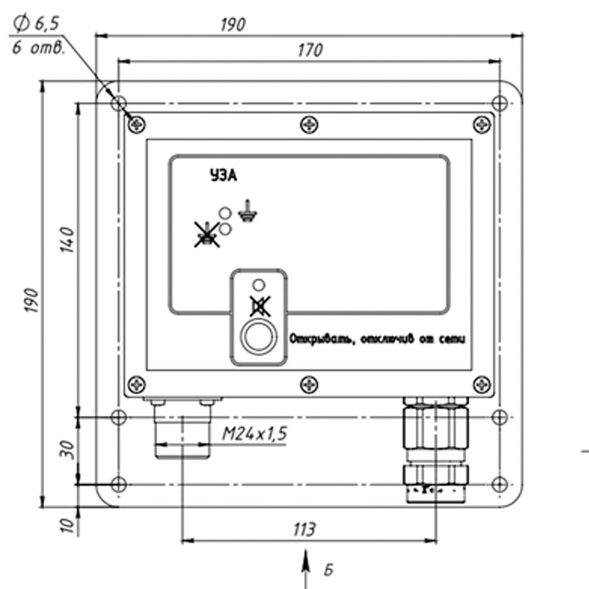
Устройство заземления автоцистерн УЗА-У-01АЦ

Устройство заземления автоцистерн УЗА-У-01АЦ - фото 1
Устройство заземления автоцистерн УЗА-У-01АЦ - фото 2
Устройство заземления автоцистерн УЗА-У-01АЦ - фото 1 Устройство заземления автоцистерн УЗА-У-01АЦ
Цена: 29500 руб.

Внимание! В связи с колебанием курса валют цены уточняйте у менеджеров.

Купить

Устройство УЗА-У-01АЦ предназначено для контроля наличия заземления между бензовозом и резервуаром хранения при сливе/наливе нефтепродуктов.

Устройство УЗА-У-01АЦ имеет независимый канал заземления автоцистерн с встроенным проводником заземления (ПЗА) для отвода статических зарядов с одновременным контролем сопротивления цепи. На крышку устройства выведены двухцветный индикаторный модуль наличия или отсутствия заземления и кнопка сброса внешней сирены с индикацией.

Устройство УЗА-У-01АЦ и кронштейн «гаражного» крепления клещей проводника заземления крепятся на вертикальной поверхности. Устройство через клемму заземления на корпусе соединяется с общим контуром заземления проводником, сечение которого не менее 1,5 кв.мм.

Для подключения устройства снимается верхняя крышка и через кабельный ввод внутрь заводится многожильный кабель с сечением проводников не менее 0,5 кв.мм. Количество проводников не менее 4 (при подключении только блокировки насосов) или 6 (при подключении блокировки насосов и внешней сирены).

Выводы проводника заземления автоцистерн уже подключены к контактным клеммам «УЗА» электронного модуля. Провода с питающим напряжением 220 В подключаются к клеммам «220 В», а провода цепи блокировки насоса или иных цепей управления внешними устройствами, к клеммам «СМ2» и «NO2». Внешняя сирена подключается к клеммам «СМ3» и «NO3». Наличие цепи заземления индицируется для оператора на крышке устройства в виде свечения индикаторного модуля зелёного цвета.

Выключение сигнала сирены осуществляется кнопкой «Сброс». Нажатие кнопки подтверждается индикатором красного цвета, расположенным над кнопкой. **При этом все блокировки внешних устройств сохраняются!**

Похожие товары

Цена в розницу: 17300 руб.
Купить
Цена в розницу: 30370 руб.
Купить
Цена в розницу: 43700 руб.
Купить
Цена в розницу: 30960 руб.
Купить
Цена в розницу: 18000 руб.
Купить
Цена в розницу: 26900 руб.
Купить
Цена в розницу: 11400 руб.
Купить
Цена в розницу: 32900 руб.
Купить
Цена в розницу: 12880 руб.
Купить
Цена в розницу: 25700 руб.
Купить
Цена в розницу: 5040 руб.
Купить
Цена в розницу: 28600 руб.
Купить
Цена в розницу: 30720 руб.
Купить
Цена в розницу: 27120 руб.
Купить
Цена в розницу: 25000 руб.
Купить

<.nput type="hidden" value="" name="cur_page_url" id="cur_page_url" />
Написать нам
Я согласен на обработку персональных данных
Новости
20.01.2026
Новинка! Электронасосы АНСВ-500 и АНСВ-1000
Новинка! На склад поступили электронасосы нового образца с увеличенной производительностью АНСВ-500...
19.01.2026
Международная выставка «Автокомплекс-2012»
ATRIS Petroleum Machinery сердечно приглашают вас принять участие в Международной торгово-промышленной...
18.01.2026
Международная выставка «Автокомплекс-2007»
Приглашаем Вас на 14-ю Московскую Международную выставку «Автокомплекс 2007», которая будет...
Все новости
Rambler's Top100
Сайт использует файлы cookie, а также обрабатывает персональные данные с помощью Яндекс Метрики, чтобы понять, как используется сайт, иметь возможность улучшить его работу, адаптировать содержание к вашим предпочтениям и персонализировать рекламу, маркетинг и публикации в социальных сетях. Заполняя формы на сайте вы даете свое согласие на использование информации. Дополнительную информацию можно найти в нашей Политике конфиденциальности.